西方经济学学习笔记 货币市场的均衡:LM曲线
《自考视频课程》名师讲解,轻松易懂,助您轻松上岸!低至199元/科!
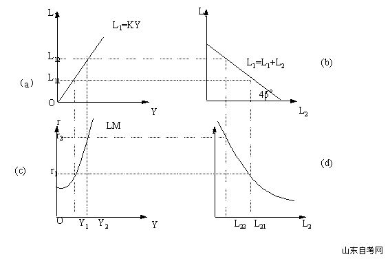
(一)LM曲线
LM曲线的含义
LM曲线是使得货币市场处于均衡的收入与均衡利息率的不同组合描述出来的一条曲线。换一句话说,在LM曲线上,每一点都表示收入与利息率的组合,这些组合点恰好使得货币市场处于均衡。
LM曲线的推导过程

币需求和货币供给变动对LM曲线的影响
当决定LM曲线的因素发生变动时,LM曲线的位置会发生变动。首先,如果货币的需求增加,既定的收入条件下市场均衡利息率升高,从而LM曲线向左上方移动。反之,当货币的需求减少时,既定收入下的市场均衡利息率下降,从而LM曲线向右下方移动。其次,如果货币的供给增加,既定收入对应的市场均衡利息率下降,从而LM曲线向右下方移动。反之,当货币的供给减少时,LM曲线向左上方移动。
本文标签:江西自考 经济类 西方经济学学习笔记 货币市场的均衡:LM曲线
转载请注明:文章转载自(http://www.zikao.jx.cn)
《江西自考网》免责声明:
1、由于各方面情况的调整与变化,本网提供的考试信息仅供参考,考试信息以省考试院及院校官方发布的信息为准。
2、本网信息来源为其他媒体的稿件转载,免费转载出于非商业性学习目的,版权归原作者所有,如有内容与版权问题等请与本站联系。联系邮箱:812379481@qq.com。









